Windshield Replacement Cost Hyundai Santa Fe . At safelite, we understand that the cost of automotive glass services, including. Less than half of what you were quoted. i just asked the parts counter at our dealership for a cost for a 2020 santa fe shield and we are charging $655. hyundai santa fe windshield replacement cost. we know how to handle your hyundai santa fe windshield needs. how much does it cost to replace glass on a hyundai santa fe? 101 rows the estimated researched price for windshield replacement in spring 2023 for the 2008 hyundai santa fe 4 door. The cost of replacing your hyundai's auto glass depends on a. the cost to replace a windshield on a hyundai santa fe can range from $220 to $520, depending on whether it’s an original equipment manufacturer.
from www.walmart.com
At safelite, we understand that the cost of automotive glass services, including. 101 rows the estimated researched price for windshield replacement in spring 2023 for the 2008 hyundai santa fe 4 door. how much does it cost to replace glass on a hyundai santa fe? The cost of replacing your hyundai's auto glass depends on a. Less than half of what you were quoted. hyundai santa fe windshield replacement cost. we know how to handle your hyundai santa fe windshield needs. the cost to replace a windshield on a hyundai santa fe can range from $220 to $520, depending on whether it’s an original equipment manufacturer. i just asked the parts counter at our dealership for a cost for a 2020 santa fe shield and we are charging $655.
OE Replacement for 20132018 Hyundai Santa Fe Sport Right Windshield
Windshield Replacement Cost Hyundai Santa Fe we know how to handle your hyundai santa fe windshield needs. hyundai santa fe windshield replacement cost. how much does it cost to replace glass on a hyundai santa fe? At safelite, we understand that the cost of automotive glass services, including. Less than half of what you were quoted. The cost of replacing your hyundai's auto glass depends on a. we know how to handle your hyundai santa fe windshield needs. 101 rows the estimated researched price for windshield replacement in spring 2023 for the 2008 hyundai santa fe 4 door. i just asked the parts counter at our dealership for a cost for a 2020 santa fe shield and we are charging $655. the cost to replace a windshield on a hyundai santa fe can range from $220 to $520, depending on whether it’s an original equipment manufacturer.
From www.walmart.com
OE Replacement for 20072013 Hyundai Santa Fe Rear Windshield Wiper Windshield Replacement Cost Hyundai Santa Fe At safelite, we understand that the cost of automotive glass services, including. the cost to replace a windshield on a hyundai santa fe can range from $220 to $520, depending on whether it’s an original equipment manufacturer. i just asked the parts counter at our dealership for a cost for a 2020 santa fe shield and we are. Windshield Replacement Cost Hyundai Santa Fe.
From www.youtube.com
Full Front Windshield in 50 Ceramic Hyundai Santa Fe 2016 Training Windshield Replacement Cost Hyundai Santa Fe hyundai santa fe windshield replacement cost. Less than half of what you were quoted. how much does it cost to replace glass on a hyundai santa fe? we know how to handle your hyundai santa fe windshield needs. 101 rows the estimated researched price for windshield replacement in spring 2023 for the 2008 hyundai santa fe. Windshield Replacement Cost Hyundai Santa Fe.
From ellagracebranch.blogspot.com
2017 Hyundai Santa Fe Windshield Wipers Perfect Hyundai Windshield Replacement Cost Hyundai Santa Fe hyundai santa fe windshield replacement cost. how much does it cost to replace glass on a hyundai santa fe? i just asked the parts counter at our dealership for a cost for a 2020 santa fe shield and we are charging $655. 101 rows the estimated researched price for windshield replacement in spring 2023 for the. Windshield Replacement Cost Hyundai Santa Fe.
From www.youtube.com
2014 Hyundai Santa Fe Sport Windshield Washer Fix YouTube Windshield Replacement Cost Hyundai Santa Fe hyundai santa fe windshield replacement cost. how much does it cost to replace glass on a hyundai santa fe? we know how to handle your hyundai santa fe windshield needs. the cost to replace a windshield on a hyundai santa fe can range from $220 to $520, depending on whether it’s an original equipment manufacturer. The. Windshield Replacement Cost Hyundai Santa Fe.
From www.hyundaipartsdeal.com
2017 Hyundai Santa Fe Sport Windshield Glass Hyundai Parts Deal Windshield Replacement Cost Hyundai Santa Fe The cost of replacing your hyundai's auto glass depends on a. hyundai santa fe windshield replacement cost. 101 rows the estimated researched price for windshield replacement in spring 2023 for the 2008 hyundai santa fe 4 door. the cost to replace a windshield on a hyundai santa fe can range from $220 to $520, depending on whether. Windshield Replacement Cost Hyundai Santa Fe.
From www.hsfmanual.com
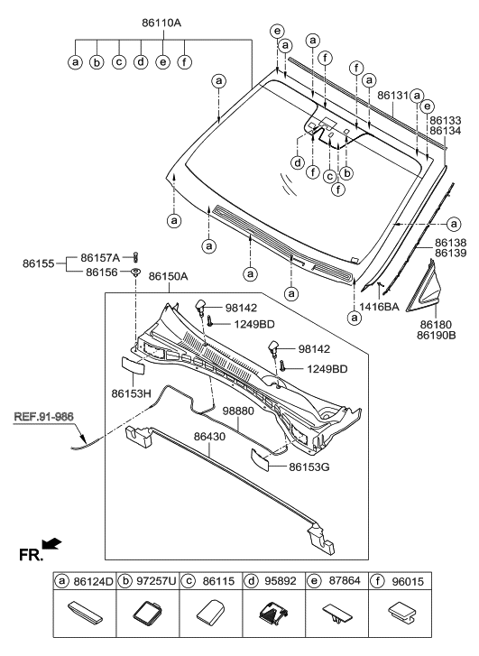
Hyundai Santa Fe (DM) Components and Components Location Windshield Windshield Replacement Cost Hyundai Santa Fe The cost of replacing your hyundai's auto glass depends on a. i just asked the parts counter at our dealership for a cost for a 2020 santa fe shield and we are charging $655. the cost to replace a windshield on a hyundai santa fe can range from $220 to $520, depending on whether it’s an original equipment. Windshield Replacement Cost Hyundai Santa Fe.
From hyundai.oempartsonline.com
20192023 Hyundai Santa Fe Windshield Molding Bracket 86147S1000 OEM Windshield Replacement Cost Hyundai Santa Fe Less than half of what you were quoted. The cost of replacing your hyundai's auto glass depends on a. hyundai santa fe windshield replacement cost. 101 rows the estimated researched price for windshield replacement in spring 2023 for the 2008 hyundai santa fe 4 door. At safelite, we understand that the cost of automotive glass services, including. . Windshield Replacement Cost Hyundai Santa Fe.
From www.youtube.com
How to Refill Windshield Washer Fluid Hyundai Santa Fe (20132018 Windshield Replacement Cost Hyundai Santa Fe Less than half of what you were quoted. i just asked the parts counter at our dealership for a cost for a 2020 santa fe shield and we are charging $655. 101 rows the estimated researched price for windshield replacement in spring 2023 for the 2008 hyundai santa fe 4 door. The cost of replacing your hyundai's auto. Windshield Replacement Cost Hyundai Santa Fe.
From www.paulstravelpictures.com
20132016HyundaiSantaFeWindshieldWiperBladesReplacementGuide002 Windshield Replacement Cost Hyundai Santa Fe we know how to handle your hyundai santa fe windshield needs. hyundai santa fe windshield replacement cost. 101 rows the estimated researched price for windshield replacement in spring 2023 for the 2008 hyundai santa fe 4 door. At safelite, we understand that the cost of automotive glass services, including. i just asked the parts counter at. Windshield Replacement Cost Hyundai Santa Fe.
From www.autoglasswarehouse.com.au
Replacement Windscreen for HYUNDAI SANTA FE New & Secondhand Windshield Replacement Cost Hyundai Santa Fe we know how to handle your hyundai santa fe windshield needs. i just asked the parts counter at our dealership for a cost for a 2020 santa fe shield and we are charging $655. Less than half of what you were quoted. hyundai santa fe windshield replacement cost. At safelite, we understand that the cost of automotive. Windshield Replacement Cost Hyundai Santa Fe.
From mytitanautoglass.com
Windshield Replacement on a 2021 Hyundai Santa FE Titan Auto Glass Windshield Replacement Cost Hyundai Santa Fe 101 rows the estimated researched price for windshield replacement in spring 2023 for the 2008 hyundai santa fe 4 door. hyundai santa fe windshield replacement cost. how much does it cost to replace glass on a hyundai santa fe? The cost of replacing your hyundai's auto glass depends on a. i just asked the parts counter. Windshield Replacement Cost Hyundai Santa Fe.
From www.jimellishyundaiparts.com
2014 Hyundai Santa Fe Windshield Glass. W/O SPORT, 20132016, Hyundai Windshield Replacement Cost Hyundai Santa Fe The cost of replacing your hyundai's auto glass depends on a. hyundai santa fe windshield replacement cost. Less than half of what you were quoted. how much does it cost to replace glass on a hyundai santa fe? At safelite, we understand that the cost of automotive glass services, including. the cost to replace a windshield on. Windshield Replacement Cost Hyundai Santa Fe.
From discountautoglasspdx.com
Understanding Windshield Replacement Costs A Comprehensive Guide Windshield Replacement Cost Hyundai Santa Fe Less than half of what you were quoted. we know how to handle your hyundai santa fe windshield needs. hyundai santa fe windshield replacement cost. i just asked the parts counter at our dealership for a cost for a 2020 santa fe shield and we are charging $655. the cost to replace a windshield on a. Windshield Replacement Cost Hyundai Santa Fe.
From www.youtube.com
15 Hyundai Santa Fe windshield replacement in Sarasota, FL YouTube Windshield Replacement Cost Hyundai Santa Fe 101 rows the estimated researched price for windshield replacement in spring 2023 for the 2008 hyundai santa fe 4 door. i just asked the parts counter at our dealership for a cost for a 2020 santa fe shield and we are charging $655. The cost of replacing your hyundai's auto glass depends on a. At safelite, we understand. Windshield Replacement Cost Hyundai Santa Fe.
From www.reddit.com
Getting my windshield replaced on my 2020 Santa Fe and insurance covers Windshield Replacement Cost Hyundai Santa Fe hyundai santa fe windshield replacement cost. Less than half of what you were quoted. The cost of replacing your hyundai's auto glass depends on a. i just asked the parts counter at our dealership for a cost for a 2020 santa fe shield and we are charging $655. the cost to replace a windshield on a hyundai. Windshield Replacement Cost Hyundai Santa Fe.
From www.walmart.com
For 20132015 Hyundai Santa Fe 4 Door SUV Passenger/Right Side Front Windshield Replacement Cost Hyundai Santa Fe how much does it cost to replace glass on a hyundai santa fe? the cost to replace a windshield on a hyundai santa fe can range from $220 to $520, depending on whether it’s an original equipment manufacturer. The cost of replacing your hyundai's auto glass depends on a. we know how to handle your hyundai santa. Windshield Replacement Cost Hyundai Santa Fe.
From lavonda-warrington.blogspot.com
hyundai santa fe front windshield replacement lavondawarrington Windshield Replacement Cost Hyundai Santa Fe hyundai santa fe windshield replacement cost. we know how to handle your hyundai santa fe windshield needs. At safelite, we understand that the cost of automotive glass services, including. 101 rows the estimated researched price for windshield replacement in spring 2023 for the 2008 hyundai santa fe 4 door. Less than half of what you were quoted.. Windshield Replacement Cost Hyundai Santa Fe.
From www.aliexpress.com
Xukey 13" Windshield Windscreen Wiper Blade Rear Window For Hyundai Windshield Replacement Cost Hyundai Santa Fe hyundai santa fe windshield replacement cost. the cost to replace a windshield on a hyundai santa fe can range from $220 to $520, depending on whether it’s an original equipment manufacturer. we know how to handle your hyundai santa fe windshield needs. At safelite, we understand that the cost of automotive glass services, including. The cost of. Windshield Replacement Cost Hyundai Santa Fe.